Berita

​Karakteristik dan klasifikasi katup gerbang

2025-10-31 0 Tinggalkan aku pesan


Gate valve disebut juga dengan gate plate valve adalah suatu katup yang bagian pembuka dan penutupnya berupa pelat gerbang, dan digerakkan oleh batang katup untuk menggerakkan pelat gerbang ke atas dan ke bawah.


Karakteristik katup gerbang


1) Keuntungan katup gerbang: Resistensi aliran fluida rendah; Torsi yang diperlukan untuk membuka dan menutup kecil. Arah aliran medium tidak dibatasi. Tidak ada fenomena water hammer saat membuka dan menutup. Struktur bentuknya relatif sederhana, dan proses pembuatannya lebih baik.


2) Kekurangan katup gerbang: Dimensi eksternal dan ketinggian pemasangannya relatif besar, serta memerlukan ruang pemasangan yang besar. Selama proses pembukaan dan penutupan, terjadi gesekan relatif pada permukaan penyegelan, yang mengakibatkan keausan yang signifikan. Bahkan pada suhu tinggi pun rentan tergores. Katup gerbang biasanya memiliki dua permukaan penyegelan, yang menambah kesulitan dalam pemrosesan, penggilingan, dan pemeliharaan.


Katup gerbang memiliki beragam aplikasi. Biasanya digunakan untuk pipa suplai air dengan diameter nominal DN50 atau lebih.



Klasifikasi katup gerbang


Katup gerbang dapat diklasifikasikan berdasarkan metode sambungan menjadi katup gerbang berulir, katup gerbang bergelang, dan katup gerbang yang dilas. Menurut fitur strukturalnya, pelat gerbang dapat dibagi menjadi pelat gerbang paralel dan pelat gerbang baji. Berdasarkan struktur batang katup, katup dapat diklasifikasikan menjadi katup gerbang batang yang berbeda (batang pengangkat) dan katup gerbang batang tersembunyi (batang berputar).




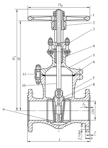
1) Katup gerbang ganda paralel batang terbuka: Katup gerbang ganda paralel batang terbuka ditunjukkan pada Gambar 1. Gerbangnya terdiri dari dua cakram simetris dan paralel. Ketika gerbang turun, irisan atas yang ditempatkan di bagian bawah gerbang menyebabkan kedua gerbang melebar ke luar dan menekan dudukan katup dengan kuat, sehingga menutup katup dengan rapat. Saat gerbang naik, irisan terlepas dari cakram. Setelah piringan naik ke ketinggian tertentu, baji diangkat oleh tonjolan pada piringan dan naik bersama dengan gerbangnya. Katup ini memiliki struktur yang sederhana. Pemrosesan, penggilingan, dan pemeliharaan permukaan penyegelannya semuanya lebih sederhana dibandingkan dengan katup gerbang baji. Namun, kinerja penyegelannya relatif buruk. Sangat cocok untuk media dengan tekanan tidak melebihi 1,0MPa dan suhu tidak melebihi 200℃.



Gambar 1: Katup gerbang ganda paralel batang naik


1. Roda tangan 2- mur batang katup 3- batang katup 4 - kelenjar pengepakan 5 - pengepakan 6 - penutup katup

7 - Gasket 8 - Cincin penyegel 9- Badan katup 10- Gerbang 11 - Baji atas


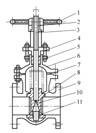
2) Katup gerbang baji batang tersembunyi: Seperti yang ditunjukkan pada Gambar 2, permukaan penyegelan katup ini miring dan membentuk Sudut. Semakin tinggi suhu medium, semakin besar sudutnya. Pelat gerbang baji diklasifikasikan menjadi pelat gerbang tunggal, pelat gerbang ganda, dan pelat gerbang elastis, seperti ditunjukkan pada Gambar 2a, b, dan c. Pemrosesan, penggilingan, dan pemeliharaan pelat gerbang baji lebih rumit dibandingkan pelat gerbang paralel, namun memiliki kinerja penyegelan yang lebih baik.


Gambar 2 Katup gerbang baji batang tersembunyi


a) Pelat gerbang tunggal baji b) Pelat gerbang ganda baji c) Pelat gerbang elastis baji


1. Roda tangan 2. Indikator 3. Penutup 4. Kotak isian 5. Pengepakan 6. Penutup katup

7- Batang katup 8 - Mur batang katup 9, 12 - Cincin Penyegel 10 - Badan katup 11 - Pelat Gerbang 13 - Gasket


Katup gerbang elastis ditunjukkan pada Gambar 3. Ia memiliki keunggulan struktur sederhana dan penggunaan yang andal, serta dapat menghasilkan deformasi elastis kecil, yang meningkatkan kekencangan penutupan.



Gambar 3 Katup gerbang elastis


1. Roda tangan 2- mur batang katup 3 - kelenjar pengepakan 4 - pengepakan 5 - penutup katup 6 - paking

7- Badan katup 8 Pelat Gerbang 9 - Cincin Penyegel 10 - Batang Katup 11 - Baut penyambung


Pada katup gerbang batang naik, ulir batang katup dipasang dengan mur selongsong yang dilengkapi dengan roda tangan. Ujung bawah batang katup memiliki kepala persegi, yang tertanam di pelat gerbang. Saat handwheel diputar, batang katup dan pelat gerbang bergerak ke atas dan ke bawah. Saat dibuka, batang katup memanjang keluar dari handwheel. Keuntungannya adalah derajat pembukaan katup dapat dinilai dari panjangnya batang katup, dan batang katup tidak bersentuhan langsung dengan media yang diangkut. Kekurangannya adalah katup memiliki ketinggian bukaan yang besar, dan lokasi pemasangan harus memiliki ruang yang cukup agar batang katup dapat memanjang ke luar. Saat memasang di lokasi, pastikan untuk memperhatikan hal ini. Benang luar batang katup dari katup gerbang batang tersembunyi cocok dengan benang dalam yang tertanam di dalam katup. Oleh karena itu, pada saat handwheel diputar maka batang klep ikut berputar sehingga menyebabkan gerbang di dalam klep bergerak naik turun, namun batang klep tidak dapat bergerak naik turun. Katup gerbang batang yang tersembunyi membutuhkan lebih sedikit ruang selama pemasangan. Media yang diangkut bersentuhan langsung dengan batang katup, dan derajat pembukaan katup tidak dapat dinilai melalui batang katup. Baik itu katup gerbang batang naik atau katup gerbang batang tidak naik, katup gerbang harus dipasang secara horizontal. Batang katup harus vertikal ke atas dan tidak miring. Dilarang keras memasang batang katup ke bawah.



Berita Terkait
Tinggalkan aku pesan
X
Kami menggunakan cookie untuk menawarkan Anda pengalaman penelusuran yang lebih baik, menganalisis lalu lintas situs, dan mempersonalisasi konten. Dengan menggunakan situs ini, Anda menyetujui penggunaan cookie kami. Kebijakan Privasi
Menolak Menerima